天软金融分析.NET函数大全
>
金融函数
>
基金
>
基本情况
FundsFromManagerID
复制链接
简述
基金经理代码查基金。
定义
FundsFromManagerID(ID:String):Array
参数
名称
类型
说明
ID
String
字符串。基金经理代码
返回
Array
数组。基金经理基金列表。
范例
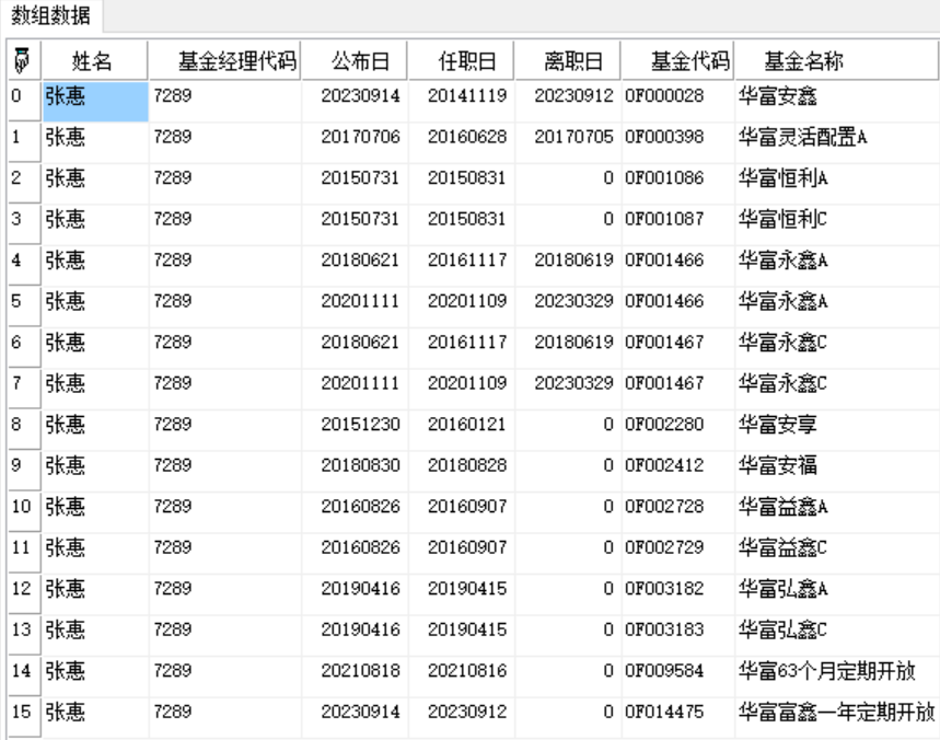
return FundsFromManagerID('7289');
结果:
相关
IsClassifyOfAFund
IsClassifyOfBFund
IsClassifyFund
FundGoMarketDate
FundIssueDate
IsDefinedFundIMStyle
IsExtFund
IsFund
IsFundGoMarket
IsOpenFund
IsCurrencyFund
NSharesOfFund
TSharesOfFund
isregulapurchasescrollhold
fundhsl2
fundoperationperiod
fundindustrynamelv1
fundsindustrynamelv
bk_fundcompanylist
isminiholdperiod
isunrestrictedopening
fundscompanylist
isscrollhold
fundpurchaseredemptiontype
isregularredeem
isregularopenfund
isclosedoperation
fundindustrynamelv3
fundindustrynamelv2
fundindustrynamelv4
fundsthemename
fundthemename
bk_fundthemename
fundallthemename
fundinvestmentstyles
fundscale
fundallcompanylist
isotherrestrictedopening
中间函数
IsCurrencyFundByEndt
FundsFromManagerID
FundsFromManagerName
FundOfDifferentFeesID